Новую «трикладушку» Samsung показали на патентных изображениях
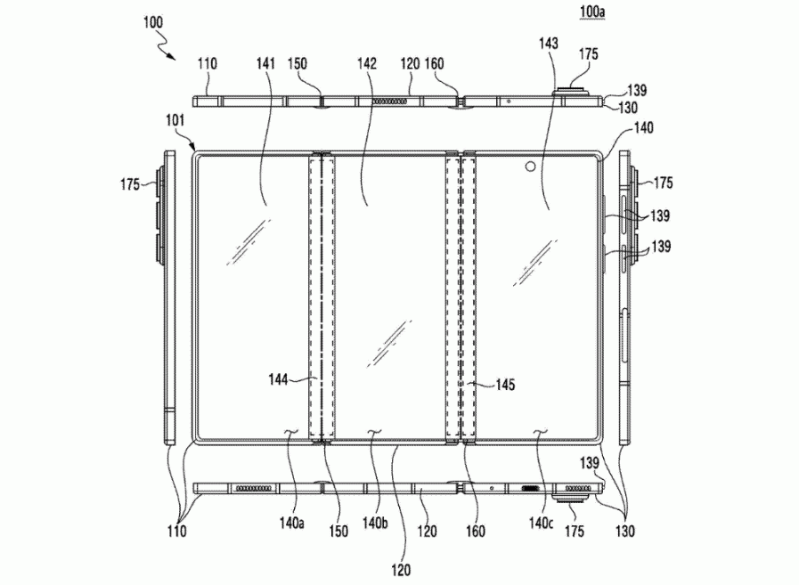
Похоже, что Samsung ещё не закончила экспериментировать со складными смартфонами. Новый патент компании указывает на то, что производитель разрабатывает новую модель с «трёхстворчатым» экраном: судя по эскизам к документу, гаджет будет заметно отличаться от предшественника.
Концептуальное устройство с неофициальным названием Galaxy Z TriFold Wide, согласно чертежам, в полностью сложенном состоянии выглядит лишь немногим шире обычного смартфона. При раскрытии гаджет напоминает планшет для потребления контента и работы в режиме многозадачности.
Спецификации смартфона неизвестны. Однако, по мнению профильных СМИ, главной особенностью новинки должно стать более удобное для пользователей соотношение сторон дисплея. Гаджет пока находится на стадии патента, поэтому о сроках его выхода нет даже приблизительной информации.

16 апреля 2026
19